彈性座封閘閥
- 銷售:021-32051999
- 銷售:021-32050777
- 傳真:021-66099555
詳情介紹
- 產品介紹
- 服務承諾
- 訂貨流程
彈性座封閘閥也稱軟密封閘閥,彈性座封閘閥采用無凹腔結構,閥體閥蓋內外表面噴涂環氧樹脂,閘板表面包覆橡膠,這樣從根本上杜絕了腐蝕發生的可能性,閥桿密封處舍棄填料而采用“O”形密封圈,使得蜜蜂更加可靠。根據需要,本閘閥可以采用操作桿、手輪、電動及氣動等方式操作。
結構特點
1.整體閥蓋暗桿設計,結構緊湊;閥桿螺母與閘板兩體結構,無卡阻現象發生;直通道,無泄留凹腔;閥桿密封采用“O”形密封圈。
2.有優良的防腐性能,殼體內,外表面噴涂環氧樹脂,需要時內表面襯搪瓷;連接螺栓采用內六角螺栓,頂部膠封。
3.可靠的衛生性環氧樹脂符合衛生標準GB/T17219-1998,閘板整體包覆符合衛生檢驗的橡膠;閥桿、閥桿螺母等零件采用不受水腐蝕的不銹鋼或青銅等到材料。
適用飲用水、給排水、污水處理、天然氣與煤氣、工業以及食品等行業。

彈性座封閘閥 主要性能參數
壓力等級 | 1.0MPa、1.6MPa、2.5MPa |
閥體耐壓 | 1.5MPa、2.4MPa、3.75MPa |
密封試驗 | 1.1MPa、1.76MPa、2.75MPa |
工作溫度 | 0~80℃ |
適用介質 | 水、油、蒸氣等 |

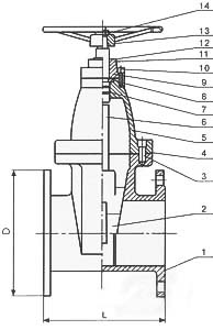
彈性座封閘閥 主要零件材料
序號 | 名稱 | 材料 | 序號 | 名稱 | 材料 |
1 | 閥體 | 球墨鑄鐵 | 8 | 止推墊 | 錫青銅 |
2 | 閘板 | 球墨鑄鐵外覆EPDM | 9 | 軸套 | 錫青銅 |
3 | 螺栓 | 鍍鋅 | 10 | 螺栓 | 鍍鋅 |
4 | 密封圈 | NBR | 11 | 軸蓋 | 球墨鑄鐵 |
5 | 閥蓋 | 球墨鑄鐵 | 12 | 防塵罩 | NBR |
6 | 閥桿 | 不銹鋼 | 13 | 手輪 | 鑄鐵 |
7 | “O”形密封圈 | NBR | 14 | 緊固螺母 | 鍍鋅 |

彈性座封閘閥 主要外形尺寸
型號 | 公稱口徑DNmm | L | D1 | D | Z-Φd | H | ||
1.0MPa | 1.6MPa | 1.0MPa | 1.6MPa | |||||
RVC(H)X | 50 | 180 | 125 | 165 | 4-Φ18 | 268 | ||
65 | 190 | 145 | 185 | 4-Φ18 | 296 | |||
80 | 240 | 160 | 200 | 8-Φ18 | 340 | |||
100 | 250 | 180 | 235 | 8-Φ18 | 367 | |||
125 | 254 | 210 | 250 | 8-Φ18 | 424 | |||
150 | 280 | 240 | 290 | 8-Φ23 | 515 | |||
200 | 300 | 295 | 340 | 8-23 | 12-23 | 550 | ||
250 | 380 | 350 | 355 | 410 | 12-23 | 12-25 | 685 | |
300 | 400 | 400 | 410 | 460 | 12-23 | 12-25 | 760 | |
350 | 430 | 460 | 470 | 520 | 16-23 | 16-25 | 845 | |
400 | 406 | 515 | 525 | 580 | 16-26 | 16-30 | 945 | |
450 | 432 | 565 | 585 | 640 | 20-26 | 20-30 | 1020 | |
500 | 457 | 620 | 650 | 715 | 20-26 | 20-34 | 1140 | |
600 | 508 | 725 | 770 | 840 | 20-30 | 20-36 | 1320 | |
RVXX表示明桿式閘閥
RVXP表示附省力裝置
RRXX表示明桿式閘閥
RRHX表示明桿式附手輪
RREX表示明桿式附電動操作裝置
RVCX表示非明桿式附傳動帽
RVHX表示非明桿式附手輪
RVHS表示非明桿式信號顯示器
RVEX表示非明桿式附電動操作裝置
RVCH表示非明桿式附傳動帽臥式操作裝置
RVHH表示非明桿式附手輪臥式操作裝置
良好的品質、優良的服務 奇高為你創造更多價值!
“奇高閥門”的期望,不斷提升服務質量,精益求精,“真誠的服務”是“奇高”永恒的主題?!捌娓摺眹栏癜凑?span lang="EN-US">IS09001-2000 質量體系認證要求,質量嚴格把關, 責任到人,確保生產、銷售、服務的健康運行。加強與用戶溝通,竭誠為廣大客戶提供優良產品,貼心服務。特此我廠做出以下承諾:
產品標準:
產品嚴格按照中國GB、HG 標準和美國API等標準設計、制造、驗收。密封面硬度達到國家規定要求,寬度超過國家標準。
售前服務:
產品介紹,技術交流,非標產品設計,疑難解答。
售中服務:
守信合同,及時供貨,隨時保持與客戶聯系。 對特殊或復制的產品,我廠安排技術人員對用戶進行產品使用、故障排除
售后服務:
1、“奇高”牌產品品質期為自出廠起12個月,實行“三包”服務(包退、包換、保修)。
2、產品在使用中我廠定期組織技術、質檢人員進行訪問,征詢用戶對產品質量、 使用狀況、改進意見等方面的反饋, 以便進一步提高產品質量。
3、對用戶投訴質量問題,快速作出反應,售后服務人員在24-36小時(省外48小時)趕赴現場。
4、對售后服務,要求用戶填寫服務后的質量反饋信息表,并作出鑒定意見,以便提高奇高的服務質量。
1、客戶如對產品有特殊要求,須在訂貨合同中提供以下說明:
a、結構長度;
b、連接形式;
c、公稱直徑、全通徑、縮徑、管道尺寸;
d、運行介質及溫度、壓力范圍;
e、試驗、檢驗標準及其他要求
2、本廠可根據客戶特定要求配置各類驅動裝置。
3、如由客戶提供確定的閥門類型和型號時,客戶應正確說明其型號的含義和要求,在供需雙方理解一致的條件下簽訂合同。
4、期貨、訂貨的客戶請先來電函詳細告訴所需的閥門型號、規格、數量以及交貨時間、地點,并按總的30%預定金或全額貨款及時匯入我廠帳戶,其余貨款待發貨前匯入,以便及時安排發貨。
訂單流程:
1、客戶采購清單傳真至021-33872143,或來電咨詢 021-33872141
2、收到客戶采購清單,為客戶提供閥門型號選型與報價(價格清單)。
3、具體商定:交貨期、特殊要求等事宜。
訂貨須知:
1、客戶如對產品有特殊要求,須在訂貨合同中提供以下說明:
|
|||||
|
|||||
2、本廠可根據客戶特定要求配置各類驅動裝置。
|
|||||
3、如由客戶提供確定的閥門類型和型號時,客戶應正確說明其型號的含義和要求,在供需雙方理解一致的條件下簽訂合同。
|
|||||
4、期貨、訂貨的客戶請先來電函詳細告訴所需的閥門型號、規格、數量以及交貨時間、地點,并按總的30%預定金或全額貨款及時匯入我廠賬戶, 其余貨款待發貨前匯入,以便及時安排發貨。
|
售中服務:
守信合同,及時供貨,隨時保持與客戶聯系。
對特殊或復制的產品,我廠安排技術人員對用戶進行產品使用、故障排除
售后服務:
1、“奇高”產品品質期為自出廠起12個月,實行“三包”服務(包退、包換、保修)。
2、產品在使用中我廠定期組織技術、質檢人員進行訪問,征詢用戶對產品質量、使用狀況、改進意見等方面的反饋,
以便進一步提高產品質量。
3、對用戶投訴質量問題,快速作出反應,售后服務人員在24-36小時(省外48小時)趕赴現場。
4、對售后服務,要求用戶填寫服務后的質量反饋信息表,并作出鑒定意見,以便提高“奇高”的服務質量。
聲明 |
|